直排篩是一種篩分顆粒、粉末狀物料的精細振動篩,特別適合篩分一些粉末類物料。如面粉,淀粉,洗衣粉,金屬粉,添加劑,化工粉末,非礦顆粒粉末等,產量可達到350Kg/150秒。
咨詢熱線:15517309351(微信同號)
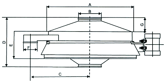
直排篩篩分精細,處理量大,易與生產線結合,設備直徑在600mm到1800mm之間。


*全不銹鋼設計,外型美觀耐用。
*體積小,不占空間,移動方便。
*耗能低,效率高。
*拆裝方便,內外部易清理,無衛生死角,復合食品級GMP規范。
*自動化作業,可24小時連續生產。
*超低靜音設計。
*密封嚴謹,液體不泄漏,粉塵不飛揚。
*可單層、多層使用,一次多級篩選。
咨詢熱線:15517309351(微信同號)


直排篩經過我公司改良,改變了原有的雙電機結構模式,采用單一臥式振動電機作激振源,物料運動軌跡有多種調節形式,經過改形后的篩機對物料的適應性更加多樣化。
咨詢熱線:15517309351(微信同號)

直排篩的原理是振動電機軸上下端地兩組偏心塊,將振動電機的旋轉運動變為水平、垂直、傾斜以及離心作用地多作用力重疊,再將這種作用力傳遞給篩面。

咨詢熱線:15517309351(微信同號)



咨詢熱線:15517309351(微信同號)


咨詢熱線:15517309351(微信同號)




歡迎新老客戶前來蒞臨參觀指導工作!